Skrivbara skivor
Utskriftsområdet på skrivbara skivor är 17 mm (0,67 tum) från den inre diametern till 1 mm (0,04 tum) från den yttre diametern av utskriftsytan.

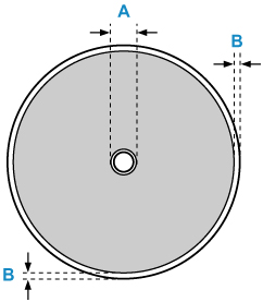
Utskrivbart område
- A: 17,0 mm (0,67 tum)
- B: 1,0 mm (0,04 tum)
S114
Utskriftsområdet på skrivbara skivor är 17 mm (0,67 tum) från den inre diametern till 1 mm (0,04 tum) från den yttre diametern av utskriftsytan.

Utskrivbart område